Resurfaced Patent Suggests Monitors' EM Fields Can Manipulate Nervous System
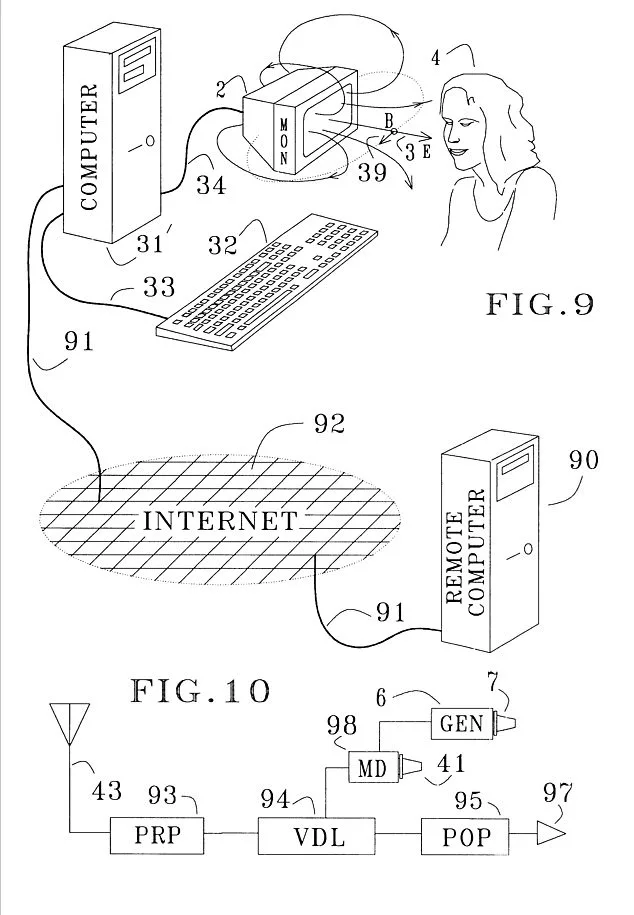
A patent titled 'Nervous System Manipulation by Electromagnetic Fields from Monitors' has resurfaced online, reigniting debates about the potential of screens to influence human physiology. Filed in 2001 and expired in 2021, the document outlines a method using electromagnetic (EM) fields from CRT monitors to produce measurable effects on the human body. The technique hinges on pulsing EM fields at frequencies between 0.1 and 15 Hertz, which could stimulate skin and interact with sensory systems. The patent suggests that such signals might be embedded in video content or TV signals, potentially affecting viewers within a few feet of the screen.
The patent's creator, Hendricus G. Loos, a physicist with a history at NASA, claimed the technology could influence autonomic functions like heart rate. His work, classified under 'magnetotherapy,' drew attention from researchers at PQAI, a nonprofit that analyzes patents. They noted that modern LED screens emit weaker EM fields, making the original technique less effective today. However, the patent's public domain status means modifications or adaptations could still be developed freely.

The resurfaced patent has sparked conspiracy theories, with some claiming that screens have been used for mind control since the TV's invention. One social media user asserted, 'Your television is a brainwashing tool used to manipulate you.' Loos's research, which included work on cloud physics for NASA, was also tied to classified CIA documents from the 1970s, which revealed early experiments in mind control through drugs. Yet, no credible evidence has linked modern screens to such practices.

Experts caution against overinterpreting the patent's potential. The USPTO classified Loos's invention under magnetotherapy, a field with limited peer-reviewed validation. Researchers emphasize that while EM fields can theoretically interact with biological tissues, the practical effectiveness of subliminal pulses remains unproven. PQAI's analysis suggests that modern screens may require significant modifications to replicate the original technique, raising questions about the technology's relevance in today's context.
Public concerns about data privacy and tech ethics have grown alongside innovations in screens and digital devices. While the patent's claims lack scientific consensus, they highlight broader societal anxieties about the intersection of technology and human biology. Advocates for regulation argue that transparency is needed as screens become more integrated into daily life, from smart TVs to augmented reality devices. The debate underscores the need for balancing innovation with safeguards for public well-being.

Congressman Tim Burchett of Tennessee recently claimed, without evidence, that modern mind control techniques exist, citing a failed assassin allegedly manipulated online. Such assertions, however, lack substantiation and echo Cold War-era fears linked to MKUltra. While the patent's revival has fueled speculation, experts stress the importance of credible, peer-reviewed research to separate fact from fiction. The legacy of Loos's work, now freely accessible, continues to challenge the boundaries of science, ethics, and public trust in technology.

The patent's technical details reveal a method involving rhythmic brightness adjustments or embedded pulses in video streams. These signals, invisible to the human eye, could theoretically induce tiny electric currents in the skin, potentially altering nerve signaling. However, the effectiveness of such a method on modern LED screens remains unverified. Researchers note that without further experimentation, the patent's practical applications remain speculative. The lack of empirical studies also raises questions about the scientific validity of Loos's claims.
As society becomes more reliant on screens, the patent's resurgence prompts reflection on the ethical implications of emerging technologies. While innovation drives progress, it also demands vigilance to prevent misuse. The case of Loos's patent serves as a reminder that public discourse must distinguish between theoretical possibilities and proven realities. Experts urge caution, advocating for rigorous testing and regulation to ensure that technological advancements serve human well-being without compromising autonomy or privacy.